Physical Address

304 North Cardinal St.
Dorchester Center, MA 02124

Fitbit Outlines A New Way To Monitor Blood Pressure


Fitbit has outlined a new kind of blood pressure wearable in an updated patent filing recently published by the United States Patent and Trademark Office, as spotted by NotebookCheck.

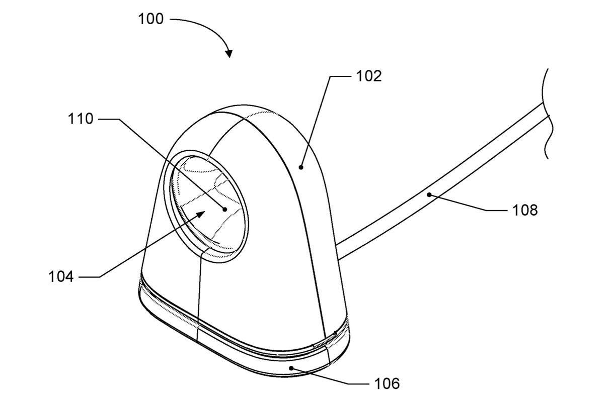
Google’s Fitbit has submitted multiple patent applications for blood pressure wearables in the recent past, and this latest one offers a new take on a traditional device.

In a familiar blood pressure reader, an inflatable cuff is typically placed around the arm to control blood flow. Fitbit’s design performs a similar job, but for the finger rather than the user’s arm.

The latest filings add to an existing patent, effectively building on a previously published design.

It would make for a more compact and convenient blood pressure reader than standard models, and the Fitbit patent documentation hints at the concept of a more lifestyle-driven health station device.

The filing suggests it could have a PPG sensor as well as the inflatable blood pressure-reading hardware, to allow it to record heart rate and blood oxygenation. It suggests Fitbit may go further too, employing skin temperature sensors.

There are some interesting suggestions about how the device might check it’s being worn correctly. The documentation details a combination of accelerometer and microphone sensors used to determine when the wearer’s hand is placed diagonally across the chest.

The idea is the accelerometer will be used to determine the angle of the wrist or arm, and microphones will be used to determine how close the rear or underside of the device is to the heart. A novel concept.

Fitbit acknowledges one of the key issues with this design in the filing, that it may be perceived as less accurate than a more traditional arm-hugging blood pressure reader. But this is offset by increased convenience and decreased bulk.

One important factor to note here is a patent filing does not signify a company is going to release a product like the one detailed. Or that it really has any intention to do so.

That this patent has been built upon over time suggests this may be more than just a pure speculative endeavour, though.

2025 is set to be a big year for blood pressure monitoring, with some speculation it could come to the Apple Watch later this year. Apple is expected to use the optical heart rate sensor rather than an inflatable technique.



Source link

Leave a Reply

Your email address will not be published. Required fields are marked *