Physical Address
304 North Cardinal St.
Dorchester Center, MA 02124
Physical Address
304 North Cardinal St.
Dorchester Center, MA 02124

With 30 million hectares of land already wrapped in green, China’s Great Green Wall is yet to slow … More down the growing desertification from the Gobi. Here’s why. getty Nearly half a century ago, China had an audacious vision—halt…

Don Murray is cofounder of Safe Software and has spent his career helping organizations bring life to data to make better decisions. getty Technology is changing faster than ever before in the world of data and AI. Organizations everywhere are…

AI in Legal getty The legal industry, historically cautious about adopting disruptive technologies, is now at an AI-powered tipping point. Focusing on this transformation is LexisNexis Legal & Professional, harnessing artificial intelligence to redefine how lawyers perform their daily work.…

AI agents represent the next evolutionary leap beyond generative AI, capable of taking autonomous … More action rather than just responding to prompts. Adobe Stock Most adults reading this will have lived through several waves of technology-driven change already during…

How to solve today’s Wordle. SOPA Images/LightRocket via Getty Images Looking for Monday’s Wordle hints, clues and answer? You can find them here: ForbesToday’s ‘Wordle’ #1374 Hints, Clues And Answer For Monday, March 24thBy Erik Kain I was on Twitter…

Looking for help with today’s NYT Mini Crossword puzzle? Here are some hints and answers for the … More puzzle. Credit: NYT In case you missed Monday’s NYT Mini Crossword puzzle, you can find the answers here: ForbesToday’s NYT Mini…

The new flagship iDSD Valkyrie DAC from iFi Audio is aimed at audiophiles who want the ultimate … More sound on the go. It’s a DAC and headphone amplifier with the latest digital conversion technology. iFi Audio Specialist audio brand…

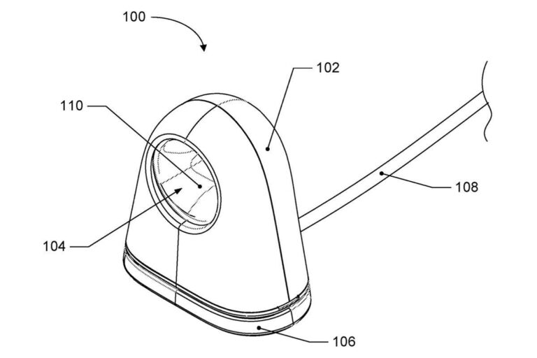
Fitbit blood pressure monitor diagram Fitbit Fitbit has outlined a new kind of blood pressure wearable in an updated patent filing recently published by the United States Patent and Trademark Office, as spotted by NotebookCheck. Google’s Fitbit has submitted multiple…

22 January 2025, USA, San Jose: At the presentation of the Galaxy S25 smartphone series, Samsung … More also gives a preview of the thinner Edge model. It is set to be launched on the market by the middle of…

NASA’s Perseverance rover spotted this spherule-packed rocked in March. NASA/JPL-Caltech/ASU It takes a lot to astonish a Mars rover team that has seen everything from an ancient beach to a rock that might hint at long-ago life. NASA’s Perseverance rover…